伸縮接頭系列
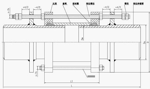
名稱:SSJB-3(BY)型壓蓋式限位伸縮接頭

|
序號
|
名稱
|
數量
|
材料
|
|
1
|
壓蓋
|
2
|
QT400-15、Q235A、ZG230-450、20
|
|
2
|
套筒
|
1
|
Q235A、20、16Mn
|
|
3
|
密封圈
|
2
|
NBR
|
|
4
|
限位短管
|
2
|
Q235A、20、16Mn
|
|
5
|
螺母
|
Tn
|
Q235A、35、1Cr18Ni9Ti
|
|
6
|
長螺母
|
n
|
Q235A、35、1Cr18Ni9Ti
|
|
7
|
螺柱
|
n
|
Q235A、35、1Cr18Ni9Ti
|
上一篇:【VSSJA-1型單法蘭限位伸縮接頭】
下一篇:【SSJB(AY)型壓蓋式松套伸縮接頭】
關鍵字:橡膠接頭、防水套管、傳力接頭、伸縮接頭、橡膠止回閥、波紋補償器
鞏義市昌旺給排水材料廠 版權所有 地 址:河南省洛陽市西工區(qū)唐宮西路44號置隆花園10樓2單元1801室 管理入口
豫ICP備16036159號-4
電 話:15037198065 (微信同號) Q Q:2914005008
郵 箱:2914005008@qq.com 2914005008(在線洽談)
